Промышленная Сибирь Ярмарка Сибири Промышленность СФО Электронные торги НОУ-ХАУ Электронные магазины Карта сайта
 
 

Поиск патентов

Как искать?
Реферат
Название
Публикация
Регистрационный номер
Имя заявителя
Имя изобретателя
Имя патентообладателя

    





Оформить заказ и задать интересующие Вас вопросы Вы можете напрямую c 6-00 до 14-30 по московскому времени кроме сб, вс. whatsapp 8-950-950-9888

На данной странице представлена ознакомительная часть выбранного Вами патента

Для получения более подробной информации о патенте (полное описание, формула изобретения и т.д.) Вам необходимо сделать заказ. Нажмите на «Корзину»


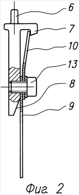
УЗЕЛ ЯКОРЯ ТАТУИРОВОЧНОЙ МАШИНЫ

Номер публикации патента: 2454253

Вид документа: C2 
Страна публикации: RU 
Рег. номер заявки: 2010117602/14 
  Сделать заказПолучить полное описание патента

Редакция МПК: 
Основные коды МПК: A61M037/00   A61B017/20    
Аналоги изобретения: US 6282987 B1, 04.09.2001. RU 2123257 C1, 20.12.1998. SU 1528404 А1, 15.12.1989. US 6550356 B1, 22.04.2003. US 20090183602 А1, 23.07.2009. FR 690930 A, 27.09.1930. GB 190013539 A, 27.07.1901. 

Имя заявителя: Низов Сергей Николаевич (RU) 
Изобретатели: Низов Сергей Николаевич (RU) 
Патентообладатели: Низов Сергей Николаевич (RU) 

Реферат


Изобретение относится к устройствам для нанесения художественных и опознавательных татуировок на человека и животных, а также для внутрикожного введения лекарственных препаратов. Узел якоря татуировочной машины содержит якорь, пружину якоря, контактную пружину. Якорь установлен на пружине якоря с возможностью колебательного движения. Якорь выполнен с зацепом, а верхний конец контактной пружины заведен под зацеп якоря. Изобретение обеспечивает повышение стабильности работы татуировочной машины, упрощение ее регулировки и отладки. Кроме того, продлевается срок службы отдельных деталей. 6 ил.

Дирекция сайта "Промышленная Сибирь"
Россия, г.Омск, ул.Учебная, 199-Б, к.408А
Сайт открыт 01.11.2000
© 2000-2018 Промышленная Сибирь
Разработка дизайна сайта:
Дизайн-студия "RayStudio"