Промышленная Сибирь Ярмарка Сибири Промышленность СФО Электронные торги НОУ-ХАУ Электронные магазины Карта сайта
 
 

Поиск патентов

Как искать?
Реферат
Название
Публикация
Регистрационный номер
Имя заявителя
Имя изобретателя
Имя патентообладателя

    





Оформить заказ и задать интересующие Вас вопросы Вы можете напрямую c 6-00 до 14-30 по московскому времени кроме сб, вс. whatsapp 8-950-950-9888

На данной странице представлена ознакомительная часть выбранного Вами патента

Для получения более подробной информации о патенте (полное описание, формула изобретения и т.д.) Вам необходимо сделать заказ. Нажмите на «Корзину»


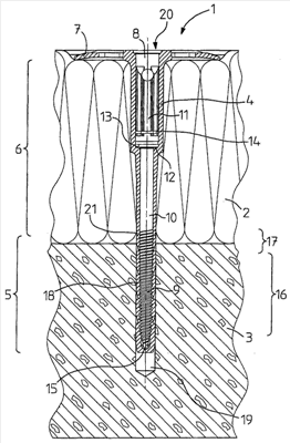
РАСПОРНЫЙ ДЮБЕЛЬ ДЛЯ КРЕПЛЕНИЯ ПЛИТ ИЗОЛЯЦИОННОГО МАТЕРИАЛА

Номер публикации патента: 2391566

Вид документа: C2 
Страна публикации: RU 
Рег. номер заявки: 2006125471/11 
  Сделать заказПолучить полное описание патента

Редакция МПК: 
Основные коды МПК: F16B013/00   F16B035/06   E04B001/76    
Аналоги изобретения: ЕР 1457688 A1, 15.09.2004. SU 680664 A, 18.08.1979. DE 8137093 U1, 05.05.1983. DE 70202009 U, 10.09.1970. US 2004/0194415 A1, 07.10.2004. 

Имя заявителя: ФИШЕРВЕРКЕ АРТУР ФИШЕР ГМБХ УНД КО. КГ (DE) 
Изобретатели: РЕНЦ Юрген (DE) 
Патентообладатели: ФИШЕРВЕРКЕ АРТУР ФИШЕР ГМБХ УНД КО. КГ (DE) 
Приоритетные данные: 27.09.2005 (пп.1-7) DE 102005046092.5 

Реферат


Изобретение касается распорного дюбеля (1) для крепления плит (2) изоляционного материала с областью (5) распирания, распорным элементом (8) из пластмассы и фиксирующим диском (7). Распорный элемент является распорным винтом (8) с заданным местом (14) разрушения в его головке (11). В результате распорный дюбель является хорошо защищенным от поломок стержня винта при завинчивании с большим крутящим моментом. 6 з.п. ф-лы, 1 ил.

Дирекция сайта "Промышленная Сибирь"
Россия, г.Омск, ул.Учебная, 199-Б, к.408А
Сайт открыт 01.11.2000
© 2000-2018 Промышленная Сибирь
Разработка дизайна сайта:
Дизайн-студия "RayStudio"