Промышленная Сибирь Ярмарка Сибири Промышленность СФО Электронные торги НОУ-ХАУ Электронные магазины Карта сайта
 
 

Поиск патентов

Как искать?
Реферат
Название
Публикация
Регистрационный номер
Имя заявителя
Имя изобретателя
Имя патентообладателя

    





Оформить заказ и задать интересующие Вас вопросы Вы можете напрямую c 6-00 до 14-30 по московскому времени кроме сб, вс. whatsapp 8-950-950-9888

На данной странице представлена ознакомительная часть выбранного Вами патента

Для получения более подробной информации о патенте (полное описание, формула изобретения и т.д.) Вам необходимо сделать заказ. Нажмите на «Корзину»


МОЩНЫЙ ПОЛУПРОВОДНИКОВЫЙ ПРИБОР

Номер публикации патента: 2407106

Вид документа: C1 
Страна публикации: RU 
Рег. номер заявки: 2009129720/28 
  Сделать заказПолучить полное описание патента

Редакция МПК: 
Основные коды МПК: H01L029/68    
Аналоги изобретения: RU 2201659 С2, 27.03.2003. RU 2351037 С1, 27.03.2009. RU 2172538 С2, 20.08.2001. US 7035106 В2, 25.04.2006. US 5646826 А, 08.07.1997. US 5375039 А, 20.12.1994. 

Имя заявителя: Федеральное государственное унитарное предприятие "Научно-производственное предприятие "Исток" (ФГУП НПП "Исток") (RU) 
Изобретатели: Духновский Михаил Петрович (RU)
Ратникова Александра Константиновна (RU)
Федоров Юрий Юрьевич (RU) 
Патентообладатели: Федеральное государственное унитарное предприятие "Научно-производственное предприятие "Исток" (ФГУП НПП "Исток") (RU) 

Реферат


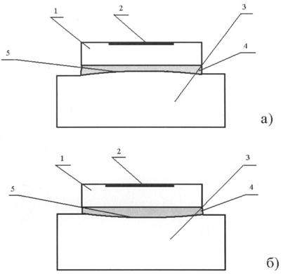
Изобретение относится к электронной технике. Сущность изобретения: мощный полупроводниковый прибор, содержащий полупроводниковый кристалл, на одной стороне которого выполнен, по меньшей мере, один мощный схемный элемент, а противоположной стороной полупроводниковый кристалл расположен соосно на металлизированном, по меньшей мере, с двух противоположных сторон теплоотводящем основании, выполненном из высокотеплопроводящего материала, и соединен с ним слоем припоя. Часть поверхности металлизированного теплоотводящего основания, на которой расположен полупроводниковый кристалл, выполнена выпуклой либо вогнутой формы, при этом упомянутая форма части поверхности металлизированного теплоотводящего основания выполнена соосно и симметрично относительно центральной оси полупроводникового кристалла, форму выпуклости либо вогнутости и соответственно величину выпуклости либо вогнутости части поверхности металлизированного теплоотводящего основания между ее центром и краем определяют из заявленного соотношения. Изобретение позволяет повысить надежность и выходную мощность мощного полупроводникового прибора за счет снижения внутренних напряжений и повышения эффективности отвода тепла. 4 з.п. ф-лы, 1 ил., 1 табл.

Дирекция сайта "Промышленная Сибирь"
Россия, г.Омск, ул.Учебная, 199-Б, к.408А
Сайт открыт 01.11.2000
© 2000-2018 Промышленная Сибирь
Разработка дизайна сайта:
Дизайн-студия "RayStudio"